風力被認為是目前可獲得的最清潔,最環境友好的能源之一,并且風力渦輪機在這點上已獲得越來越多的關注。現代風力渦輪機通常包括塔架、發電機、變速箱、機艙和一個或多個轉子葉片。轉子葉片使用已知的翼片原理捕獲風的動能。轉子葉片傳送以旋轉能形式的動能,以便轉動將轉子葉片聯接至變速箱(或如果未使用變速箱,則直接地聯接至發電機)的軸。發電機然后將機械能轉換成電能,電能可部署至公用電網。根據3D科學谷的市場觀察,GE通過3D打印技術積極布局對自身產業的變革。

更好的風能
通常,風力渦輪包括塔架、安裝在塔架上的機艙和聯接到機艙的轉子。轉子大體上包括可旋轉的轂和聯接到轂并從轂向外延伸的多個轉子葉片。每個轉子葉片可圍繞轂間隔開,以便于旋轉轉子,使得動能能夠被轉換成可用的機械能,然后該機械能可被傳輸到設置在機艙內的發電機,以用于產生電能。
為了使機艙和轉子葉片相對于風的方向正確定向,風力渦輪典型地包括一個或多個偏航軸承或變槳軸承。偏航軸承允許機艙旋轉,并安裝在塔架和機艙之間。變槳軸承允許轉子葉片旋轉,并安裝在可旋轉轂和轉子葉片之間。
目前,偏航軸承和變槳軸承是回轉支承軸承,其包括外座圈和內座圈,在外座圈和內座圈之間有多個滾珠軸承。此外,典型的變槳軸承包括在內座圈上的多個齒輪齒,而典型的偏航軸承包括在外座圈上的多個齒輪齒。因此,一個或多個驅動機構配置成通過接合齒輪齒來驅動軸承。
常規變槳軸承和偏航軸承的內座圈和外座圈經由鍛造過程制造,該過程可能是耗時且昂貴的。因此,GE將增材制造技術用于制造風力渦輪的偏航軸承和變槳軸承的改進 。


風力渦輪的偏航軸承透視圖© GE專利
根據3D科學谷的市場研究了解,GE經由增材制造過程將涂層材料施加到多個齒輪齒的至少一部分。涂層材料不同于基底材料。增材制造包括冷噴涂、熱噴涂、激光熔覆、粘合劑噴射、材料噴射、定向能量沉積、粉末床選區金屬熔化等技術種類。涂層材料包括氮化硼、氧化鋁、碳化硅、碳化鎢、鎳基合金或能夠提供期望硬度的任何其它材料。
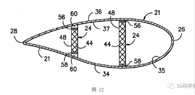
風力渦輪機轉子葉片大體包括通常利用模制工藝形成的吸入側殼和壓力側殼,吸入側殼和壓力側殼在沿葉片的前緣和后緣的粘合線處粘合在一起。此外,壓力殼和吸入殼是相對輕質的,并且具有未構造成承受操作期間施加在轉子葉片上的彎矩和其它負載的結構性質(例如,剛度、抗屈曲度和強度)。因此,為了增加轉子葉片的剛度、抗屈曲度和強度,通常使用接合殼半部的內部壓力側表面和吸入側表面的一個或多個結構構件(例如,在其間構造有抗剪腹板的相對的翼梁帽)來增強主體殼。
轉子葉片的橫截面視圖© GE專利
這種結構構件通常由各種材料構成,包括但不限于玻璃纖維層壓復合物和/或碳纖維層壓復合物。更具體地說,轉子葉片的殼大體通過將纖維織物層堆疊在殼模具中而圍繞葉片的翼梁帽構建。然后通常將這些層與樹脂材料一起灌注。此外,通常使用類似的模制工藝來構造抗剪腹板,且然后將抗剪腹板安裝在翼梁帽之間。
隨著轉子葉片的尺寸繼續增加,翼梁帽和抗剪腹板的尺寸也增加并且增加了整個轉子葉片的重量。因此,不停在尋找新的和改進的結構構件(如抗剪腹板)及其制造方法成為制造商的追求,而更高性能的結構構件為轉子葉片提供所需的強度和剛度,同時還使轉子葉片的總重量最小化。
根據3D科學谷的市場研究發現,GE在探索通過3D打印-增材制造、自動纖維沉積的技術以及利用CNC控制和多種自由度來沉積材料制造具有格構結構的輕質轉子葉片構件(如抗剪腹板)。這其中由3D打印形成轉子葉片構件的內部格構結構包括多個開孔。
讓風機變得更高后,更輕則是下一個追求。3D科學谷了解到GE與美國能源部建立合作,研究使用3D打印制造風機葉片。這個為期25個月、耗資670萬美元的項目將重點研究如何通過低成本的熱塑性材料和3D打印技術制造一套風機葉片的葉尖部分。完成后,GE團隊及其合作伙伴——橡樹嶺國家實驗室和美國國家可再生能源實驗室將對產品的結構特性進行測試,并將三套葉尖安裝到風機上。
對于技術創新的不斷追求促使GE一直在尋求改良葉片生產制造的方式,包括將3D打印技術與熱成型、自動化和熱塑性材料等先進工藝結合起來。
目前,風機葉片大多是由在玻璃纖維和碳纖維中加入環氧樹脂或聚酯樹脂的復合材料制成的,而使用輕型熱塑性復合材料和3D打印的葉片則具有多項優勢,包括:
- 輕型葉片可以帶動風機轉子產生更多動力,提高風機的發電量
- 輕型葉片可以減輕對塔筒和輪軸的負載,減少齒輪箱、傳動系統、軸承和基座的磨損,從而降低全生命周期成本
- 熱塑性材料更方便進行拆除后的熔化和回收
葉尖部分完成后,GE團隊接下來還會將3D打印技術應用于風機葉片的其他部分。20多年前,GE開始在航空發動機中引入輕型復合材料風扇葉片。今天,通過合作伙伴的共同努力,GE正在把更先進的材料技術應用于風機葉片中,以降低風電度電成本,提高性能,并持續推動行業的綠色低碳發展。
來源:中國3D打印網
如有侵權,請及時聯系刪除!